Squatters bet on Trump
It might be true that financial markets bet on Hillary, but the squatters bet on Trump. And they won!
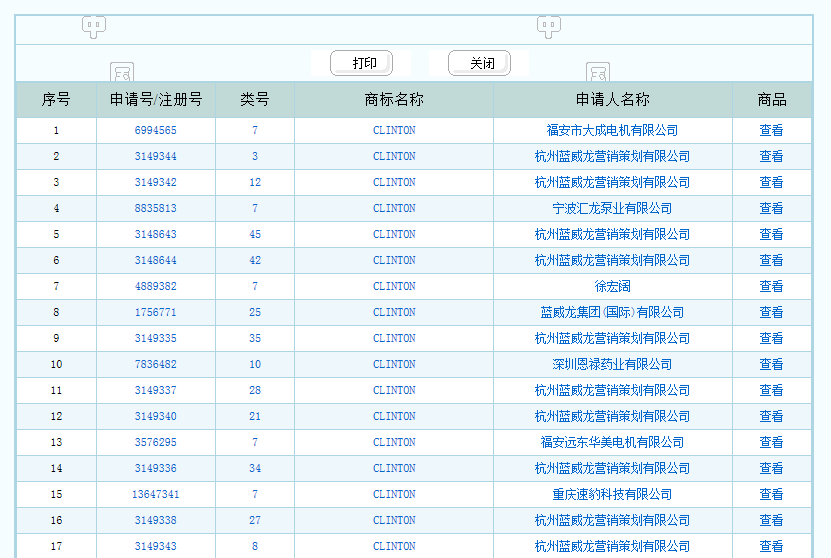
Stunned by the results of the American presidential election we have carried out a search with the database of Chinese Trademark Office to understand the sentiment in relation to the two candidates that battled until this week for the oval room. According to the search, the word “Clinton” generates 17 relevant results. Nevertheless we cannot link these applications explicitly to Hillary, indeed they could be related to the husband as well (former president).

Using the word “Trump” as keyword for the search we have found 10 results that directly link to Donald Trump the now president-elect and more than 120 applications relevant to Trump 9 and probably relevant to “The Donald”. In addition we have found 29 applications linking explicitly to “Ivanka Trump”.
